用 AR 设计 Nike 球鞋?没准不久后就能实现
如果说 VR 很适合日常的娱乐,那么 AR 则就像是为提高工作效率而准备的。世界著名运动品牌 Nike 已经在这方面投入了至少两年的精力了。

如果说 VR 很适合日常的娱乐,那么 AR 则就像是为提高工作效率而准备的。世界著名运动品牌 Nike 已经在这方面投入了至少两年的精力了。
今后用 AR 设备设计球鞋?
这家公司最近申请了一个能够让设计师通过 AR 技术提高工作效率的专利。根据文档描述,这个系统允许工作人员通过佩戴的 AR 头显虚拟出所设计的衣服或者球鞋。而这个产品也可以渲染到现实世界。

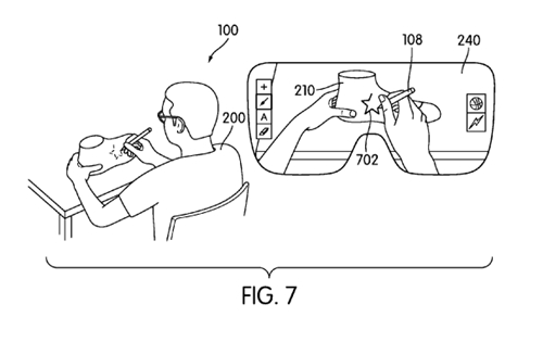
我们可以在图中看到设计师可以通过一个形状像笔的输入设备对在一个模具上进行创作,然后在「屏幕的两侧」选择画笔的种类,最后就像我们现在使用的 Nike ID 服务一样选择颜色或者其他材质。当然,不仅你可以通过 AR 来设计球鞋,衣服同样可以。

如果我们说微软在 2014 年展示了 Hololens,再说 Nike 在 2014 年底开始对 AR 技术的研发就一点也不吃惊了,如果这项技术能够在不久之后实际应用,那将是个相当大的革命——我们终于能够将 AR 的应用从软件层面应用到实际物体中了。设计师可以快速地在一张白 Tee 或者球鞋模板上自由、具象化地用「笔」创造,或许某一天,我们也能够像是用 Nike ID 一样在家里用 AR 的技术定制更加个性化的服务了。目前来看,这个专利更有可能是让设计师使用,毕竟当前的 AR 硬件技术还有许多需要克服的问题。

(现在你能在官网上以选材料的方式进行 ID,谁知道以后呢?)
尽管 Nike 的做法十分具有前瞻性,并且与 Magic Leap 公司所描绘的未来生活有异曲同工之妙,但我们还需要认清现在的 AR 是一个什么样的大情况。
AR 还能有什么应用
目前可以确定的是,AR 技术更看重的是 B 端的行业应用,不如我们来抛砖引玉一下目前 AR 的主要应用(除了娱乐):
1. 广告
从广告和宣传角度来看,很多商家都喜欢用 AR 做点噱头,以「识图」为主的 APP 不能更多。在使用过程中,用户通常是用手机扫描图片或二维码(最初)从而出现对应的宣传,购买链接 blablbla。这种应用的入手门槛较低,大部分的 AR 应用主打的就是这种类型,在网络允许的情况下基本上都有不错的效果。如此来讲很多人就又该问了:这么方便的产品为啥一直不火?

(AR 扫图识别广告)
其实很简单,就是因为它需要一个入口,这个入口必须要通过自家的 APP 产品才能使用,换句话说,你不可能为了看一个广告而要花更多步骤下载其他一个用不上的应用吧?这种尴尬局面如果没有「Killer APP」或者大用户群体的应用推广此功能的话很难改变。
2. 教育
幼教其实是 AR 领域小试拳脚的一个垂直领域,我们已经能够看到很多成熟的卡片类 AR 产品应用到该市场了。「识图」这一特点恰好能够迎合 AR 产品的特长,另外相对低的交互门槛和各种后期可以更新的实体产品和教育资源也能够方便地进行产品迭代。

(AR 卡片)
在幼儿教育领域,我们可以总结以下三种比较明显的产品形态:
传统时期的识图和绘图卡片。现在阅读这篇文章的各位一定都会明白,小时候父母最喜欢给孩子购买这种东西让孩子玩,多彩的颜色和十分基础的知识内容让孩子在玩的时候就能学起来,并且能够刺激孩子们的创造性,这也是接下来在幼教方面的产品雏形。
有声读物类识图卡片。由于电子产品在前十几年的快速迭代,有声读物的出现使得孩子们有更多认识世界的可能,感官上的刺激也更吸引孩子们的目光,但是产品的成本高,不可迭代且使用方法过于单一,相比绘图卡片,他还是没有形成气候,不过我们还是记住了「xxx 点读机,那里不会点哪里」的口号。
通过手机,Pad 类电脑进行互动的软件产品。现在的小孩子已经能够非常熟练地操作和使用我们手里的手机和平板了,这些电子产品加速了孩子们认识世界的进程,各个软件的应用及快速迭代让孩子们不厌其烦地始终玩到新的产品,AR 卡片是将实体与虚拟联通的桥梁,不光赋予孩子们知识,通过在手机上的绘画和创造也相对提供他们更灵活吸纳知识的渠道。
3.B 端市场的生产力设备
提高 B 端生产力也是 AR 产品的一大前景,尽管我们看到的很多生产力设备都停留在 Demo 阶段,但是「阉割版本」的 AR 设备正小规模地进行试用。从 Hololens 到国内几家 AR 硬件设备描述,面向 B 端的生产也有很多的前景。

(日本 AR 眼镜 Moverio)
比如在维修及安装服务,传统的新手培训需要一名老工程师长时间带领才能可行,现场指导也不得不加大成本投入,而通过 AR 设备,现场工作人员能够通过 AR 眼镜上的教程和指南快速地上手维修安装,同时后方的工程师也不需要再配合到现场进行指导和操作。另外,在物流行业,AR 眼镜在大批量收获和监督时也能够提高很多效率。
就我们看到的产品来说,AR 确实没有一个比较说得过去的应用存在,但其实在一些细分领域中,AR 产品已经「闷声发大财」一段时间了,比如我们能够在奔驰,宝马上看到使用 AR 和投影技术的 HUD 显示器,比如在军队中使用的各种头盔,还比如最近大火的口袋小畜生 Pokemon Go...
部分内容编译自:uploadvr
0
搜索

搜索